Подзаголовок сайта
Система газотурбинного наддува и охлаждения наддувочного воздуха (см. рисунки) за счет использования части энергии отработавших газов обеспечивает подачу предварительно сжатого и охлажденного воздуха в цилиндры двигателя.
Наддув позволяет увеличить плотность заряда воздуха, поступающего в цилиндры, и в том же объеме сжечь большее количество топлива и повысить литровую мощность двигателя.
Система газотурбинного наддува двигателя состоит из двух взаимозаменяемых турбокомпрессоров (ТКР), выпускных и впускных коллекторов и патрубков, охладителя наддувочного воздуха (ОНВ) типа «воздух-воздух», подводящих и отводящих трубопроводов (двигатели мод. 740.11-240 — без ОНВ).
Воздух в центробежный компрессор турбокомпрессора поступает из воздухоочистителя, сжимается и подается под давлением в ОНВ, и затем охлажденный воздух поступает в двигатель.
Турбокомпрессоры устанавливаются на выпускных патрубках по одному на каждый ряд цилиндров. На двигателях устанавливаются турбокомпрессоры моделей, указанных в «Технической характеристике ТКР».
Выпускные коллекторы выполняются цельнолитыми, крепятся к головкам цилиндров болтами и контрятся замковыми шайбами. Для компенсации угловых перемещений головок болтов крепления выпускного коллектора, возникающих при нагреве, под головки болтов устанавливаются специальные сферические шайбы.
Впускные коллекторы и патрубки выполняются литыми из алюминиевого сплава и соединяются между собой при помощи болтов. Стыки между коллекторами и патрубками уплотняются паронитовыми прокладками. Для выравнивания давления между двумя рядами цилиндров на впускные коллекторы устанавливается объединительный патрубок.
Примечание. Система турбонаддува и охлаждения наддувочного воздуха двигателя должна быть герметична. При нарушении герметичности выпускного тракта снижается частота вращения ротора турбокомпрессора, а, следовательно, уменьшается количество воздуха, нагнетаемого в цилиндры, что приводит к увеличению теплонапряженности деталей, снижению мощности и ресурса двигателя. Негерметичность впускного тракта приводит к вышеперечисленным недостаткам и «пылевому» износу цилиндро-поршневой группы, следовательно, к преждевременному выходу двигателя из строя.
Смазка подшипников турбокомпрессоров осуществляется от системы смазки двигателя через фторопластовые трубки с металлической оплеткой. Слив масла из турбокомпрессоров осуществляется по стальным трубкам сильфоновой конструкции в картер двигателя.
На двигателях без ОНВ воздух в центробежный компрессор поступает из воздухоочистителя, сжимается и подается под давлением во впускной патрубок двигателя. Выпускной патрубок компрессора и впускной патрубок между собой соединяются теплостойким резиновым рукавом, который стягивается хомутами.

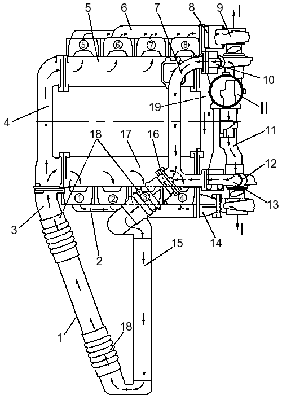
Рисунок 54 —
Схема системы газотурбинного наддува и охлаждения наддувочного воздуха на
двигателях мод. 740.30-260 (740.31-240)
1 — труба; 2 — коллектор выпускной
правый; 3 — патрубок подводящий; 4 — патрубок соединительный впускных
коллекторов; 5 — коллектор впускной левый; 6 — коллектор выпускной левый; 7 —
тройник; 8 — патрубок выпускной левый; 9, 12 — турбокомпрессоры; 10 — патрубок
тройника левый; 11 — тройник подвода воздуха; 13 — патрубок тройника правый; 14
— патрубок выпускной правый; 15 — теплообменник охладителя наддувочного воздуха;
16 — патрубок отводящий; 17 — коллектор впускной правый; 18 — рукава 100×112; 19
— патрубок объединительный впускных коллекторов

Рисунок 55 —
Схема системы газотурбинного наддува на двигателе мод. 740.11-240
1 —
патрубок выпускной правый; 2, 7 — турбокомпрессоры; 3 — патрубок впускной левый;
4 — заглушка коллектора впускного левого; 5 — тройник подвода воздуха; 6 —
патрубок впускной правый; 8 — патрубок впускной левый; 9, 12 — коллектора
впускные левые; 10 — патрубок соединительный; 11 — коллектор впускной правый; 12
— коллектор впускной левый; 13 — коллектор впускной правый I — отработавшие
газы; II — подвод воздуха после воздухоочистителя
Обслуживание системы газотурбинного наддува и охлаждения наддувочного воздуха
В процессе эксплуатации двигателя внешним осмотром проверяется герметичность трассы газопровода отработавших газов, подвода воздуха к двигателю. Периодически проверяется надежность крепления деталей и узлов указанных систем, а при необходимости, производится подтяжка болтов, гаек крепления и хомутов.
Работа турбокомпрессора оказывает существенное влияние на параметры и работоспособность двигателя. Неисправность турбокомпрессора может привести к поломке двигателя. Несмотря на то, что турбокомпрессоры не требуют в эксплуатации регулировок, необходимо систематически выполнять установленные предприятием-изготовителем правила технического обслуживания двигателя и периодически контролировать на слух работу турбокомпрессоров.
При ТО-2 необходимо проверить легкость вращения роторов турбокомпрессоров. Для этого надо снять приемную трубу системы выпуска отработавших газов. Затем проверить рукой, как вращается ротор в его крайних осевых и радиальных положениях. Ротор должен вращаться легко, без заеданий и касаний о неподвижные детали турбокомпрессора.
Подшипники турбокомпрессора весьма чувствительны к количеству и чистоте масла, поэтому необходимыми условиями нормальной работы подшипникового узла являются своевременная замена масла и фильтрующих элементов масляного фильтра двигателя, а также применение рекомендованных предприятием-изготовителем марок масел.
При сезонном техническом обслуживании турбокомпрессоры один раз в два года рекомендуется снять с двигателя для очистки центробежного компрессора. Агрегат целесообразно снимать вместе с выпускным коллектором.
При СТО необходимо также слить накопившийся в ОНВ конденсат.
Порядок выполнения работ смотри в разделе «Техническое обслуживание двигателя».





