Подзаголовок сайта
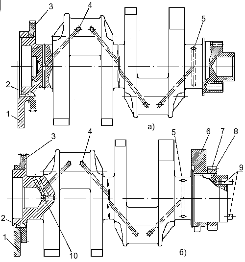
Коленчатый вал (см. Рисунок 31 — Коленчатый вал) для различных комплектаций и моделей двигателей могут применяться с маркировкой 740.30-1005020 и 740.13-1005020, конструктивные особенности приведены ниже.

Рисунок 31 —
Коленчатый вал
а) — 740.30-1005020 (вал с усиленным креплением маховика); б)
— 740.13-1005020
1 — противовес коленчатого вала передний; 2, 8 — шпонки; 3 —
шестерня привода масляного насоса; 4 — отверстие подвода масла к шатунным
шейкам; 5 — отверстие подвода масла в коренных шейках; 6 — противовес
коленчатого вала задний; 7 — шестерня привода газораспределительного механизма;
9 — штифты; 10 — жиклер
Коленчатый вал изготовлен из высококачественной стали и имеет пять коренных и четыре шатунные шейки, закаленных ТВЧ, которые связаны между собой щеками и сопрягаются с ними переходными галтелями.
Для равномерного чередования рабочих ходов расположение шатунных шеек коленчатого вала выполнено под углом 90°.
На шатунные шейки устанавливаются по два шатуна: один для правого и один для левого рядов цилиндров (см. Рисунок 35 — Поршень с кольцами в сборе с шатуном).
Подвод масла к шатунным шейкам производится через отверстия 5 в коренных и отверстия 4 в шатунных шейках (см. Рисунок 31 — Коленчатый вал).
Для уравновешивания сил инерции и уменьшения вибраций коленчатый вал имеет шесть противовесов, отштампованных заодно со щеками коленчатого вала.
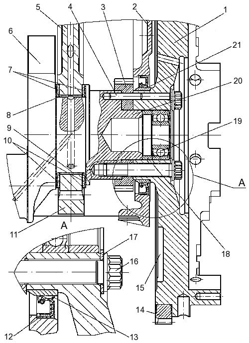
От осевых перемещений коленчатый вал зафиксирован двумя верхними 7 и нижними 10 полукольцами (Рисунок 33 — Установка полуколец, вкладышей подшипников, манжеты и маховика коленчатого вала 740.30-1005020), установленными в проточках задней коренной опоры блока цилиндров, так, что сторона с канавками прилегает к упорным торцам вала.

Рисунок 33 —
Установка полуколец, вкладышей подшипников, манжеты и маховика коленчатого вала
740.30-1005020
1 — маховик; 2 — картер маховика; 3 — шестерня привода
газораспределительного механизма; 4 — установочный штифт маховика; 5 — блок
цилиндров; 6 — коленчатый вал; 7, 10 — полукольца упорного подшипника
коленчатого вала; 8, 9 — вкладыши подшипника; 11 — задняя крышка подшипника
вала; 12 — манжета уплотнения вала; 13 — пыльник манжеты; 14 — зубчатый венец
маховика; 15 — выборка под дисбаланс; 16 — болт крепления маховика; 17 — шайба;
18 — втулка дистанционная; 19 — подшипник; 20 — центрирующая шейка вала; 21 —
кольцо
Уплотнение коленчатого вала осуществляется резиновой манжетой 12 с дополнительным уплотняющим элементом — пыльником 13. Манжета размещена в картере 2 маховика. Манжета изготовлена из фторкаучука по технологии формования рабочей уплотняющей кромки непосредственно в пресс-форме.
Номинальные диаметры шеек коленчатого вала: коренных — 95-0,015 мм, шатунных — 80-0,013 мм на двигателе мод. 740.11-240 (и 95 ± 0,011 мм и 80 ± 0,010 мм соответственно — на двигателях мод. 740.30-260 и 740.31-240).
Коленчатые валы имеют маркировку, выполненную в поковке на третьем противовесе: на двигателях мод. 740.11-240 — 7401.1005020 (или 740.13-1005020); на мод. 740.31-240 — 740.13-1005020 и на мод. 740.30-260 — 740.30-1005020.
Установка валов с другой маркировкой недопустима из-за значительных отличий от коленчатых валов других моделей двигателей.
Коленчатый вал 740.30-1005020 (см. Рисунок 31 — Коленчатый вал, а) упрочнен азотированием на глубину 0,5-0,7 мм, твердость упрочненного слоя на поверхности — не менее 600 HV3. Кроме основных противовесов имеет дополнительный съемный противовес 1, напрессованный на вал, его угловое расположение относительно коленчатого вала определяется шпонкой 2. Для обеспечения требуемого дисбаланса, на маховике выполняется выборка 15 (см. Рисунок 33 — Установка полуколец, вкладышей подшипников, манжеты и маховика коленчатого вала 740.30-1005020).
На хвостовике коленчатого вала выполнена шейка 20, по которой центрируется шестерня 3 коленчатого вала и маховик 1. На носок коленчатого вала напрессована шестерня 3 (см. Рисунок 31 — Коленчатый вал, а) привода масляного насоса.
На торце хвостовика коленчатого вала выполнено десять резьбовых отверстий М16×1,5-6Н для крепления шестерни коленчатого вала и маховика, на торце носка выполнено восемь резьбовых отверстий М12×1,25-6Н для крепления гасителя 6 крутильных колебаний (см. Рисунок 36 — Установка гасителя крутильных колебаний, фланца отбора мощности и шкива).
Коленчатый вал 740.13-1005020 (см. Рисунок 31 — Коленчатый вал, б). Коренные и шатунные шейки коленчатого вала закалены токами высокой частоты (ТВЧ).
Кроме основных противовесов имеет два дополнительных съемных противовеса 1 и 6, напрессованных на вал, их угловое расположение относительно коленчатого вала определяется шпонками 2 и 8.
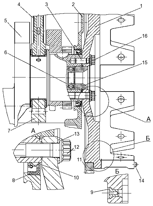
В расточку хвостовика коленчатого вала запрессован шариковый подшипник 6 (см. Рисунок 32 — Установка манжеты уплотнения и маховика коленчатого вала 740.13-1005020) ведущего вала коробки передач, в полость носка коленчатого вала ввернут жиклер 10 (см. Рисунок 31 — Коленчатый вал, б).

Рисунок 32 —
Установка манжеты уплотнения и маховика коленчатого вала 740.13-1005020
1 —
маховик; 2 — картер маховика; 3 — установочный штифт маховика; 4 — блок
цилиндров; 5 — коленчатый вал; 6 — подшипник ведущего вала коробки передач; 7 —
крышка подшипника коленчатого вала задняя; 8 — манжета уплотнения коленчатого
вала; 9 — сухарь отжимного рычага сцепления; 10 — пыльник манжеты; 11 — зубчатый
венец маховика; 12 — болт крепления маховика; 13 — шайба; 14, 15 — установочные
втулки; 16 — упорное кольцо
На носок коленчатого вала напрессована шестерня 3 привода масляного насоса, на хвостовик — шестерня 7 коленчатого вала.
На торце хвостовика коленчатого вала выполнено восемь резьбовых отверстий М14×1,5-6Н для крепления маховика 1 (см. Рисунок 32 — Установка манжеты уплотнения и маховика коленчатого вала 740.13-1005020), на торце носка выполнено восемь резьбовых отверстий М12×1,25-6Н для крепления гасителя 6 крутильных колебаний (см. Рисунок 36 — Установка гасителя крутильных колебаний, фланца отбора мощности и шкива).





