Подзаголовок сайта
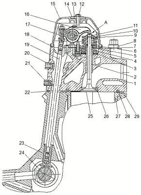
Механизм газораспределения (см. Рисунок 24 — Механизм газораспределения) предназначен для обеспечения впуска в цилиндры свежего воздушного заряда и выпуска из них отработавших газов.

Рисунок 24 — Механизм газораспределения
1 — головка цилиндра; 2 —
направляющая клапана; 3, 7, 13 — шайбы; 4, 5 — пружины клапана; 6 — манжета; 8 —
болт крепления головки; 9 — тарелка пружины; 10 — втулка тарелки; 11 — сухарь;
12 — болт крепления крышки; 14 — шайба виброизоляционная; 15 — крышка головки
цилиндра; 16 — коромысло; 17 — стойка коромысла; 18, 22 — прокладки; 19 —
штанга; 20 — ввертыш крепления впускного коллектора; 21 — ввертыш крепления
задней трубы; 23 — толкатель; 24 — распределительный вал; 25 — впускной клапан;
26 — седло впускное; 27 — гильза цилиндра; 28 — кольцо газового стыка; 29 — блок
цилиндров; А — тепловой зазор
Впускные и выпускные клапаны открываются и закрываются в определенных положениях поршня, что обеспечивается совмещением меток на зубчатых колесах привода агрегатов при их монтаже.
Механизм газораспределения — верхнеклапанный, с нижним расположением распределительного вала. Кулачки распределительного вала 24 в соответствии с фазами газораспределения приводят в действие толкатели 23. Штанги 19 сообщают качательное движение коромыслам 16, а они, преодолевая сопротивление пружин 4 и 5, открывают клапан 25. Закрываются клапаны под действием силы сжатия пружин.
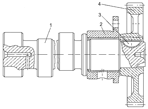
Распределительный вал (см. одноименный рисунок) — стальной, кулачки и опорные шейки подвергнуты термообработке ТВЧ; устанавливается в развале блока цилиндров на пяти подшипниках скольжения, представляющих собой стальные втулки, залитые антифрикционным сплавом.

Рисунок 25 — Распределительный вал
1 — распределительный вал; 2 —
корпус заднего подшипника с втулкой; 3 — шпонка; 4 — шестерня
На задний конец распределительного вала напрессована прямозубая шестерня 4. Привод распределительного вала осуществляется от шестерни коленчатого вала через промежуточные шестерни. Для обеспечения заданных фаз газораспределения шестерни при сборке устанавливаются по меткам, выбитым на торцах (см. раздел «Привод агрегатов»). Шестерни стальные, штампованные, термообработанные. От осевого перемещения вал фиксируется корпусом 2 подшипника задней опоры, который крепится к блоку цилиндров тремя болтами.
Клапаны 25 (см. Рисунок 24 — Механизм газораспределения) выполнены из жаропрочной стали. Угол рабочей фаски клапанов — 90°. Диаметр тарелки впускного клапана — 51,6 мм, выпускного — 46,6 мм, высота подъема впускного клапана — 14,2 мм, выпускного — 13,7 мм. Геометрия тарелок впускных и выпускных клапанов обеспечивает соответствующие газодинамические параметры впуска — выпуска газов.
Клапаны перемещаются в направляющих втулках, изготовленных из металлокерамики. Для предотвращения попадания масла в цилиндр на направляющих клапанов устанавливаются резиновые уплотнительные манжеты.
Толкатели 23 — тарельчатого типа с профилированной направляющей частью (в переходный период возможно цилиндрической), изготовлены из стали с последующей наплавкой поверхности тарелки отбеленным чугуном. Толкатель подвергнут химико-термической обработке.
Штанги 19 толкателей — стальные, пустотелые с запрессованными наконечниками.
Коромысла 16 клапанов — стальные, штампованные, представляют собой двуплечий рычаг, у которого отношение большого плеча к меньшему составляет 1,51. Коромысла впускного и выпускного клапанов устанавливаются на общей стойке и фиксируются в осевом направлении пружинным фиксатором.
Стойка 17 коромысел — чугунная, цапфы которой подвергнуты термической обработке ТВЧ.
Пружины 4 и 5 клапанов — винтовые, устанавливаются по две на каждый клапан. Пружины имеют различные направления навивки. Диаметр проволоки наружной пружины — 4,8 мм, внутренний — 3,5 мм.
Предварительно устанавливаемое усилие пружин 355 Н (35,5 кгс), суммарное рабочее — 821 Н (82,1 кгс).
Порядок регулирования зазоров между носиками коромысел и клапанами описан в разделе «Техническое обслуживание».
Головки цилиндров 1 — отдельные на каждый цилиндр, изготовлены из алюминиевого сплава. Головка цилиндра для охлаждения имеет полость, сообщающуюся с полостью охлаждения блока. Каждая головка цилиндра устанавливается на два установочных штифта, запрессованных в блок цилиндров и крепится четырьмя болтами из легированной стали. Один из установочных штифтов одновременно служит втулкой для подачи масла на смазку коромысел клапанов. Втулка уплотнена резиновыми кольцами. В головке увеличено отверстие слива моторного масла из-под клапанной крышки в штанговую полость.
Блок цилиндров 29 является основной корпусной деталью двигателя и представляет собой отливку из чугуна марки СЧ 25. Отливку подвергают искусственному старению для снятия термических напряжений, что позволяет блоку сохранить правильные геометрические формы и размеры в процессе эксплуатации.
Гильзы цилиндров (см. Рисунок 27 — Установка гильзы и форсунки охлаждения поршня) «мокрого» типа, легкосъемные. На конусной части внизу гильзы цилиндров двигателя мод. 740.11-240 имеют маркировку 7406.1002021; двигателей мод. 740.30-260 и 740.31-240 — маркировку 740.30-1002021 (7406), нанесенную ударным способом. Установка гильз с другой маркировкой недопустима, т. к. это приведет к ускоренному износу гильз и поршневых колец.
Привод агрегатов осуществляется прямозубыми зубчатыми колесами и служит для привода механизма газораспределения, ТНВД, компрессора и насоса гидроусилителя рулевого управления автобуса. Зубчатые колеса устанавливаются на двигатель в строго определенном положении по метке «0» на зубчатом колесе привода распределительного вала, метке «Е» на зубчатом колесе привода ТНВД и рискам, выбитым на зубчатых колесах.





