Подзаголовок сайта
Проверка и, при необходимости, регулирование угла опережения впрыскивания топлива
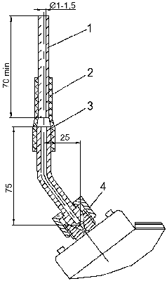
Проверка и, при необходимости, регулирование угла опережения впрыскивания топлива производится с использованием моментоскопа (см. Рисунок 90 — Схема установки моментоскопа), для чего необходимо:
- прогреть двигатель;
- отсоединить трубку 3 высокого давления восьмой секции ТНВД (см. Рисунок 88 — Схема нумерации цилиндров двигателя и расположение секций ТНВД);
- на штуцер восьмой секции установить моментоскоп;
- рычаг управления регулятором перевести в среднее положение;
- заполнить стеклянную трубку 1 моментоскопа топливом, вращая коленчатый вал двигателя;
- проворачивая коленчатый вал, совместить установочную метку II фланца ведомой полумуфты с указателем I корпуса ТНВД;
- провернуть коленчатый вал на пол-оборота против хода вращения, перевести фиксатор в нижнее положение и медленно проворачивать коленчатый вал по ходу вращения до момента начала движения топлива в стеклянной трубке моментоскопа. Если в этот момент фиксатор войдет в паз маховика, то угол опережения впрыскивания топлива установлен правильно и фиксатор следует перевести в верхнее положение;
- если паз маховика не дошел до фиксатора, нужно ослабить болты ведомой полумуфты и медленно проворачивать коленчатый вал по ходу вращения до западания фиксатора в паз маховика, затянуть болты, перевести фиксатор в верхнее положение и проверить точность установки угла опережения впрыскивания по методу, описанному выше;
- если паз маховика совместился с фиксатором, а движение топлива в трубке не началось, то нужно ослабить болты ведомой полумуфты и медленно проворачивать кулачковый вал ТНВД за фланец ведомой полумуфты по ходу вращения до момента начала движения топлива в стеклянной трубке моментоскопа. Затянуть болты, перевести фиксатор в верхнее положение и проверить точность установки угла опережения впрыскивания, как описано выше;
- проверить затяжку болтов ведомой полумуфты привода динамометрическим ключом.

Рисунок 90 —
Схема установки моментоскопа
1 — стеклянная трубка; 2 — переходная трубка; 3
— отрезок топливопровода высокого давления; 4 — накидная
гайка





