Подзаголовок сайта
Предпусковой подогреватель (см. Рисунок 67 — Предпусковой подогреватель) предназначен для разогрева холодного двигателя и автоматического поддержания теплового состояния дизельных двигателей с жидкостным охлаждением независимо от работы двигателя.
Эксплуатация подогревателя осуществляется при различных температурах окружающего воздуха при относительной влажности до 75 %.
Подогреватель устанавливается в задней части левого лонжерона каркаса основания шасси автобуса и состоит из теплообменника и откидывающейся горелки.
На автобусах Нефаз может быть установлен жидкостной подогреватель мод. 141.8106-02 (или мод. 143.8106, или DBW-300 ф. «Webasto») и циркуляционный насос мод. 34.3730 (мод. U 4814 ф. «Webasto»).для предпускового разогрева и поддержания теплового состояния двигателя, а также для эффективного отопления кабины и салона автобуса, в том числе и на стоянке при неработающем двигателе.
Жидкостной подогреватель работает только в комплексе с циркуляционным насосом. Циркуляционный насос может работать автономно (без включения подогревателя), например, для ускоренного отвода тепла от двигателя или лучшей циркуляции охлаждающей жидкости в системе отопления автобуса.
Питание жидкостного подогревателя и циркуляционного насоса топливом и электроэнергией осуществляется от источников автобуса.
Подогреватель подсоединяется к жидкостным системам охлаждения двигателя и отопления салона автобуса. Система охлаждения двигателя и система отопления должны быть заполнены охлаждающей жидкостью.
Теплообменник подогревателя сварной, с «рубашкой», внутри которой циркулирует подогреваемая жидкость — теплоноситель. На теплообменнике под кожухом установлен термопредохранитель, а на патрубке подогретой жидкости — датчик температуры, который контролирует температуру жидкости в системе подогревателя.
Горелка прикреплена к теплообменнику откидными болтами и обеспечивает доступ к ее элементам при монтаже и обслуживании.
Циркуляционный насос (см. Рисунок 68 — Циркуляционный насос мод. 34.3730) предназначен для обеспечения циркуляции теплоносителя (охлаждающей жидкости двигателя) в системе отопления кабины и салона автобуса.
Электронасос предназначен для работы в комплекте с подогревателем и состоит из электродвигателя постоянного тока двухпроводного исполнения и центробежного насоса.
Циркуляционный насос установлен в непосредственной близости от подогревателя и предназначен для прокачивания охлаждающей жидкости.
Клавишей на щитке приборов в кабине водителя включают одновременно жидкостной подогреватель и циркуляционный насос. Дальнейшей работой подогревателя и насоса автоматически управляет электронный блок управления.
Работа подогревателя приведена в разделе «Эксплуатация нового автобуса».

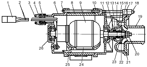
Рисунок 67 — Предпусковой подогреватель
1 — блок управления; 2 —
источник питания; 3 — электродвигатель; 4 — муфта; 5 — крыльчатка; 6 —
подшипник; 7 — наконечник запального электрода; 8 — электромагнитный клапан; 9 —
держатель форсунки; 10 — патрубок «входа»; 11 — электрод запальный; 12 —
форсунка; 13 — теплообменник; 14 — термопредохранитель; 15 — патрубок «выхода»;
16 — камера сгорания; 17 — подставка; 18 — труба теплообменника внутренняя; 19 —
патрубок газоотводящий; 20 — завихритель; 21 — индикатор пламени; 22 — топливный
насос; 23 — трубка отвода топлива; 24 — трубка подвода топлива; 25 — зубчатая
передача; 26 —сасывающий патрубок

Рисунок 68 — Циркуляционный насос мод. 34.3730
1 — штекерная колодка;
2 — выводы; 3, 20 — гайки; 4, 11, 23 — шайбы; 5 — уплотнительная втулка; 6 —
крышка; 7, 18 — специальные винты; 8 — корпус; 9 — якорь; 10 — крышка; 12, 15,
21 — уплотнительные кольца; 13, 14 — втулки; 16 — пружина; 17 — корпус
центробежного насоса; 19 — крышка насоса; 22 — крыльчатка; 24 — пластина; 25 —
вывод; 26 — пружинная шайба





