Подзаголовок сайта
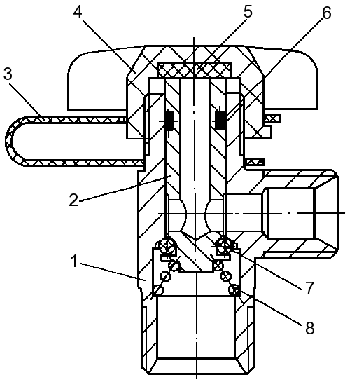
Кран экстренного растормаживания (см. рисунок) служит для обеспечения подачи воздуха от компрессора к энергоаккумуляторам и их экстренного растормаживания или заполнения пневмопривода от внешнего источника сжатого воздуха или компрессора.
Рисунок 181 — Кран экстренного растормаживания
1 — корпус; 2 —
толкатель; 3 — лента; 4 — гайка-барашек; 5 — прокладка; 6 — кольцо
уплотнительное; 7 — кольцо упорное; 8 — пружина
Применение крана описано в разделе «Пневмопривод и его работа».






