Подзаголовок сайта
Внимание. Выбор режима работы, системы управления и регулирования ГМП, принципиальная и электрическая схемы управления ГМП (ф. «VOITH») приведены в эксплуатационной документации гидромеханической передачи мод. D851. 3Е (см. Руководство по эксплуатации ГМП).
Система управления ГМП включает в себя электронный блок (расположен за сиденьем водителя), управляющий включением и выключением электромагнитных клапанов, которые, в свою очередь, осуществляют переключение режимов работы ГМП согласно заложенной в электронном блоке программе управления.
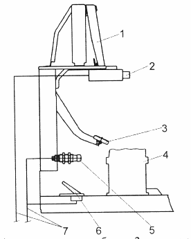
Водитель осуществляет управление ГМП, воздействуя на нее через пятиклавишный переключатель (контроллер) 2 (см. Рисунок 14 — Установка системы управления ГМП), педаль 6 управления подачей топлива и тормозной кран 3 с педалью.

Рисунок 14 —
Установка системы управления ГМП
1 — панель щитка приборов; 2 — переключатель
ГМП пятиклавишный; 3 — тормозной кран с педалью; 4 — рулевая колонка; 5 — датчик
«кик-даун»; 6 — педаль управления подачей топлива; 7 — соединительные
кабели
Контроллером может устанавливаться в зависимости от условий движения один из режимов работы ГМП.
Педаль управления подачей топлива через дистанционный привод автобуса воздействует на датчик нагрузки (силовой регулятор, установленный на двигателе), в котором имеется два микропереключателя режимов работы ГМП. Под педалью 6 управления подачей топлива размещен также микровыключатель режима включения датчика 5 «кик-даун».
При нажатии педали управления подачей топлива до пружинящего упора обеспечивается максимальная подача топлива. При переходе через пружинящий упор и нажатии педали до твердого упора, т. е. при ходе педали между положениями II и III (см. Рисунок 15 — Регулирование положения датчика «кик-даун»), включается датчик максимальной нагрузки («кик-даун»), при этом ощущается нажатие на кнопку датчика. При включенном «кик-дауне» разгон автобуса происходит более интенсивно.

Рисунок 15 —
Регулирование положения датчика «кик-даун»
1 — датчик «кик-даун»; 2 — педаль
управления подачей топлива
Регулируется положение датчика изменением размера Н, для этого следует ослабить две гайки крепления датчика, найти нужное положение датчика и закрепить его.
Включение датчика «тугое» — это сделано для того, чтобы водитель ощущал ногой включение «кик-дауна».
Нажимая на тормозную педаль, водитель замыкает поочередно три
микровыключателя, которые через электронный блок управляют давлением масла в
гидротрансформаторе ГМП, создавая в нем последовательно возрастающий тормозной
момент.





