Товар в корзине!

Вы не зарегистрировались на сайте.
Ваша корзина не сохранится после сессии.

Для постоянной работы с сайтом необходимо зарегистрироваться.

Тракбус
Запчасти к автобусам НЕФАЗ и ЛИАЗ
Качественные запчасти к автобусам НЕФАЗ и ЛИАЗ от надёжной компании!
Тракбус
Набережные Челны

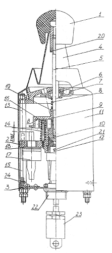
Рычаг управления коробкой передач

Подзаголовок сайта

 

Рычаг управления коробкой передач (РУКП) (см. Рисунок 329) предназначен для формирования команд на включение передач в коробке передач и имеет положение нейтрали и 6 фиксированных положений включенной передачи.

Рисунок 329 — Рычаг управления коробкой передач
1 — рукоятка; 2 — фланец; 3 — дно; 4 — чехол; 5 — ось; 6 — фиксатор; 7 — крышка; 8 — пружина; 9 — фланец; 10 — опора шаровая; 11 — кожух; 12 — пята; 13 — колонка; 14 — пружина; 15 — колонка; 16 — колпачок; 17 — выключатель ВК 415; 18 — шайба регулировочная; 19 — шайба; 20 — гайка; 21 — шплинт; 22 — разъем соединительный; 23 — реле резервного режима; 24 — винт

Команда на включение той или иной передачи формируется при перемещении рукоятки РУКП 1 (срабатывании концевых выключателей 17).

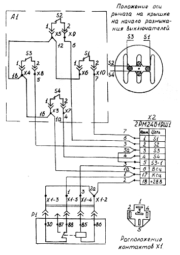
Концевые выключатели 81, 82, 83, 84 (см. Рисунок 330) в исходном положении (рукоятка 1 РУКП расположена по центру) замкнуты и обесточены (электропитание на РУКП отсутствует).

Рисунок 330 — Схема электрическая соединений РУКП

При срабатывании датчика состояния сцепления Всц (см. Рисунок 323) после нажатия на педаль сцепления на концевые выключатели РУКП подается напряжение, которые в свою очередь (будучи в замкнутом состоянии) включают все ЭПК, и во все пневмоцилиндры ИМКП и механизма блокировки подается воздух. Включение передач происходит при размыкании соответствующих выключателей (при перемещении рукоятки РУКП), т. е. при сбросе воздуха с соответствующих пневмоцилиндров ИМКП (снятии напряжения с соответствующих ЭПК). Состояния концевых выключателей 81...84 при включении передач для различных моделей коробок передач приведены в Таблице 49.

Таблица 49

Номера включенных передач

Состояние концевых выключателей

КП КамАЗ-14

КП КамАЗ-141

КП ЯМЗ-236

S1

S2

S3

S4

S1

S2

S3

S4

S1

S2

S3

S4

Нейтраль

выбран шток 2/3 передач

выбран шток 4/5 передач

выбран шток 1/R передач

X

-

X

X

X

X

X

X

-

X

X

X

X

-

X

X

X

X

X

X

-

X

X

X

X

-

X

X

X

X

X

X

-

X

X

X

Задний ход

X

X

-

-

X

X

-

-

X

-

-

X

Первая

X

-

-

X

X

-

-

X

X

X

-

-

Вторая

X

-

X

X

X

-

X

X

X

-

X

X

Третья

X

X

X

-

X

X

X

-

X

X

X

-

Четвертая

-

-

X

X

-

X

X

-

-

X

X

-

Пятая

-

X

X

-

-

-

X

X

-

-

X

X

Примечание: «X» — выключатель замкнут; «-» — выключатель разомкнут.

На корпусе рычага управления коробкой передач имеется разъем для присоединения либо жгута блока контроля (для работы в основном режиме), либо жгута соединительного (для работы в резервном режиме).

Из корпуса РУКП выходит жгут с колодкой, в которую установлено реле. Данное реле задействовано только в резервном режиме работы ЭПП.

Схема электрическая соединений РУКП приведена на Рисунке 330.