Подзаголовок сайта
При ремонте топливоподкачивающего насоса и насоса предпусковой прокачки топлива:
- топливоподкачивающий насос и насос предпусковой прокачки замените при наличии трещин на корпусе, изломов, механических повреждений, коррозии, ведущей к потере подвижности сопрягаемых деталей;
- при разборке и сборке топливоподкачивающего насоса помните, что поршень и корпус топливоподкачивающего насоса, поршень и цилиндр насоса прокачки представляют собой точно подобранные пары и разукомплектованию не подлежат. Разборке и ремонту насосы подвергаются только в том случае, если они не обеспечивают требуемых характеристик;
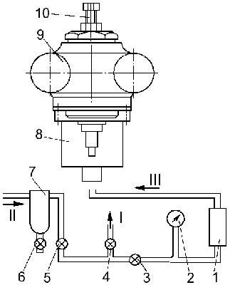
- особое внимание обратите на состояние сборочной единицы шток — втулка топливоподкачивающего насоса, т. к. от величины износа в сопряжении зависит количество перетекаемого топлива в полость кулачкового вала. Зазор в указанном сопряжении не должен превышать 0,012 мм. Величину зазора проверьте, не извлекая втулки из корпуса насоса, определением времени падения давления воздуха от 490-392 кПа (5-4 кгс/см2) в аккумуляторе объемом 30 см3. Схема установки для замера плотности прецизионной сборочной единицы показана на Рисунке 80 — Схема установки для испытаний пары шток — втулка.

Рисунок 80 —
Схема установки для испытаний пары шток — втулка
1 — аккумулятор воздушный; 2
— манометр; 3, 4, 5, 6 — краны; 7 — масловлагоотделитель; 8 — соединитель для
подвода воздуха к корпусу насоса; 9 — корпус насоса; 10 — ограничитель
перемещения штока; I — в атмосферу; II — из системы; III — к насосу
Установите корпус 9 насоса в приспособление, заполните аккумулятор 1 сжатым воздухом до давления не менее 539 кПа (5,5 кгс/см2), герметично отключите его от магистрали сжатого воздуха и замерьте время, в течение которого произойдет падение в аккумуляторе 490-392 кПа (5-4 кгс/см2). Полученное время сравните с аналогичными показаниями плотности эталонной прецизионной пары, имеющей зазор в сопряжении 0,012 мм. Пару замените или отремонтируйте, если плотность у нее меньше эталонной.
Проверку плотности пары можно произвести более простым способом: через зазор между штоком и втулкой пропустите профильтрованное дизельное топливо. Объем топлива, просочившегося через зазор, не должен превышать 1 см3 в течение 20 мин.
Если сборочная единица шток — втулка заменяется, поверхность резьбы и торец в корпусе насоса низкого давления очистите от остатков клея. Новую втулку штока установите в корпус насоса на клею, составленном на основе эпоксидной смолы. Для обеспечения прочности и герметичности соединения очищенные контактирующие поверхности корпуса насоса и втулки предварительно обезжирьте бензином Б-70. После затяжки втулки штока с моментом 9,81 Н.м (1 кгс.м) проверьте легкость перемещения штока в ней. При необходимости уменьшите момент затяжки.
Во время испытания проверьте подачу насоса. Установку для проверки изготовьте по схеме: топливный бак — фильтр грубой очистки топлива — вакуумметр — топливоподкачивающий насос — манометр — мерный резервуар. Элементы схемы соедините прозрачными трубопроводами с внутренним диаметром не менее 8 мм. Для создания разрежения на входе в насос и противодавления на выходе установите краны. Проверку производите на летнем дизельном топливе при температуре его 25-30 °С. В отсутствии воздуха в системе убедитесь по чистоте струи топлива в прозрачных трубопроводах.
Насос должен засасывать топливо из бака, установленного на 1 м ниже насоса.
Подача насоса при частоте вращения кулачкового вала 1100-1300 мин-1, разрежении у входного штуцера 23 кПа (173 мм рт. ст.) и противодавлении:
- 80-100 кПа (0,8-1,0 кгс/см2) должна быть не менее 3 л/мин;
- при полностью перекрытом выходном кране и частоте вращения кулачкового вала 1100-1300 мин-1 насос должен создавать давление не менее 400 кПа (4 кгс/см2);
- при полностью перекрытом входном кране и указанной частоте вращения кулачкового вала минимальное разрежение, создаваемое насосом, должно быть 52 кПа (390 мм рт. ст.);
- топливоподкачивающий насос проверьте на стенде, имеющем схему: топливный бак — фильтр грубой очистки — топливный насос. Насос должен подавать топливо из бака, установленного ниже ручного насоса на 1 м.
Проверьте насос на герметичность, подводя воздух под поршень при давлении 200-300 кПа (2-3 кгс/см2) в течение 5-6 секунд с предварительным смачиванием полости дизельным топливом.





