Подзаголовок сайта
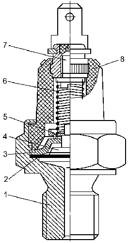
Пневмовыключатель сигнализатора падения давления (см. рисунок) предназначен для замыкания цепи сигнализаторов и звукового сигнала (зуммера) при падении давления в контурах I, II и III пневмопривода тормозной системы.
Выключатели вворачиваются в ресиверы этих контуров пневмопривода. Такой же выключатель, установленный в контуре III, замыкает цепь сигнализатора включения стояночной тормозной системы. Выключатели имеют размыкающиеся центральные контакты, которые размыкаются при падении давления ниже 441-539 кПа (4,5-5,5 кгс/см2).
При достижении в приводе указанного давления мембрана 2 под действием сжатого воздуха прогибается и через толкатель 4 воздействует на подвижный контакт 5, который, преодолев усилие пружины 6, отрывается от неподвижного контакта 3 и разрывает электрическую цепь выключателя. Замыкание контактов, следовательно, включение сигнализаторов и звукового сигнала (зуммера) происходит при снижении давления ниже указанной величины.

Рисунок 188 — Пневмовыключатель сигнализатора падения давления
1 —
корпус; 2 — мембрана; 3 — неподвижный контакт; 4 — толкатель; 5 — подвижный
контакт; 6 — пружина; 7 — регулировочный винт; 8 —
изолятор





