Подзаголовок сайта
Система питания двигателя воздухом состоит из фильтра, воздухозаборника, патрубков и труб, соединяющих воздухоочиститель с воздухозаборником и турбокомпрессорами.
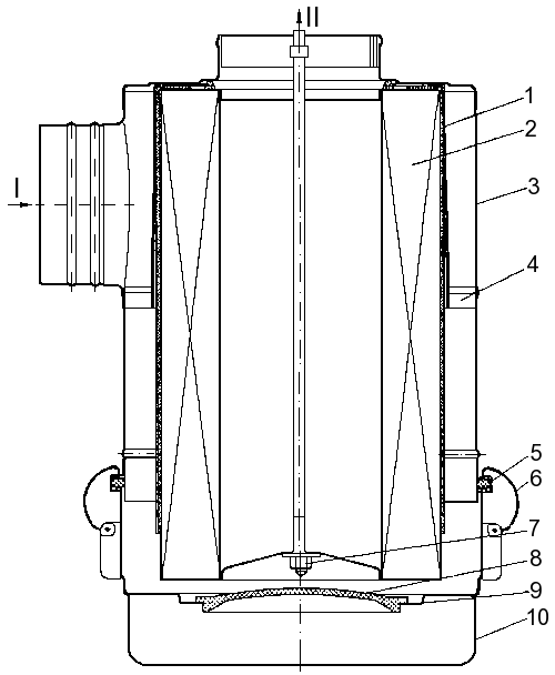
Воздухоочиститель (см. Рисунок 53 — Воздухоочиститель) сухого типа, двухступенчатый предназначен для очистки поступающего в двигатель воздуха от пыли.
Он состоит из корпуса 3 с завихрителем 4, крышки 10, предочистителя 1, фильтрующего элемента 2. Герметичность соединения крышки с корпусом обеспечивает уплотнительное кольцо 5. Крышка крепится к корпусу четырьмя пружинными защелками 6. Основные детали воздухоочистителя изготовлены из листовой стали толщиной 1,2 мм.
Для повышения эффективности очистки воздуха, поступающего в двигатель, на фильтрующий элемент надевается предочиститель 1 — оболочка из нетканого фильтровального полотна.
При двухступенчатой очистке:
Первая ступень очистки — моноциклон, содержащий завихритель 4, установленный за входным патрубком и обеспечивающий винтовое движение воздушного потока в кольцевом зазоре между корпусом 3 фильтра и элементом 2. За счет действия центробежных сил частицы пыли отбрасываются к стенке корпуса и сгоняются в бункер. Пылесборный бункер образован крышкой 10, перегородкой 9 и съемной заглушкой 8.
Вторая ступень очистки — фильтрующий элемент 2, который имеет наружный и внутренний кожухи. Они изготовлены из перфорированного стального листа и гофрированной фильтровальной бумаги, соединенных по торцам металлическими крышками, которые приклеены специальным клеем.
Фильтрующий элемент плотно прижат к днищу корпуса 3 и уплотняется торцовым резиновым кольцом. Крепится фильтрующий элемент в корпусе самостопорящейся гайкой 7.
Предварительно очищенный в первой ступени воздух поступает во вторую ступень со сменным картонным фильтрующим элементом для более тонкой очистки, где, проникая через поры картона, оставляет на его поверхности мелкие частицы пыли. Очищенный воздух через тройник поступает к двум центробежным компрессорам и, под избыточным давлением, через трубу охладителя наддувочного воздуха в цилиндры двигателя.
В системе питания двигателя воздухом предусмотрена установка датчика сигнализатора засоренности фильтрующего элемента. Датчик установлен на трубопроводе, соединяющем двигатель с воздухоочистителем. При достижении разрежения после фильтра 6,86 кПа (700 мм вод. ст.) датчик срабатывает, и на щитке приборов загорается сигнализатор. Это свидетельствует о необходимости обслуживания воздухоочистителя.

Рисунок 53 — Воздухоочиститель
1 — предочиститель; 2 — фильтрующий
элемент; 3 — корпус; 4 — завихритель; 5 — уплотнительное кольцо; 6 — защелка; 7
— гайка; 8 — заглушка; 9 — перегородка бункера; 10 — крышка; I — вход; II —
выход





