Подзаголовок сайта
Аварийно-вентиляционные люки, расположенные в крыше автобуса Нефаз, служат для вентиляции салона автобуса в жаркое время года и для эвакуации пассажиров в аварийных ситуациях. В крыше городского автобуса размещено три аварийно-вентиляционных люка, междугородного и пригородного — два. Конструкцией люка предусмотрена возможность его снятия в аварийных ситуациях как изнутри (из салона), так и снаружи.
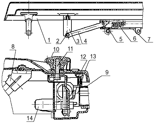
Аварийно-вентиляционный люк состоит из панели и двух механизмов открывания, размещенных в передней и задней части люка в направлении, перпендикулярном оси автобуса. Аварийно-вентиляционный люк имеет панель 1, ручку 8 подъема и механизм 2 открывания люка. Корпус 7 механизма открывания люка соединен в проеме крыши с упорами 13 аварийными ручками 14, зафиксированными в упорах пластинчатыми пружинами упоров. Между внутренней панелью 1 люка и панелью 9 крышки установлен уплотнитель 12.
При открывании люка изнутри приложением усилия в вертикальном направлении на ручку 8 подъема люка рычаги 4 механизма открывания поворачиваются относительно осей поршней 5 и осей кронштейнов 3 и, сжимая фиксирующие пружины 6, поднимают одну из сторон люка и фиксируют люк в верхнем положении. В зависимости от дорожных условий и желания пассажиров можно установить любое из пяти положений люка.
Для аварийного открывания люка из салона выдерните аварийные ручки 14, поднимите и откиньте люк в сторону.
Для аварийного открывания люка снаружи отверните зажимы 10, соединяющие болтами 11 панель люка с кронштейнами 3 механизма 2 открывания, поднимите панель и откиньте люк.

Рисунок 214 — Аварийно-вентиляционный люк
1 — панель вентиляционного
люка крыши; 2 — механизм открывания люка; 3 — кронштейн; 4 — рычаг механизма
открывания люка; 5 — поршень механизма открывания люка; 6 — пружина механизма
открывания люка; 7 — корпус механизма открывания люка; 8 — ручка подъема люка; 9
— панель крыши; 10 — зажим; 11 — болт; 12 — уплотнитель; 13 — упор; 14 —
аварийная ручка





