Подзаголовок сайта
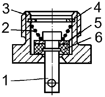
Кран слива конденсата (см. рисунок) предназначен для принудительного слива конденсата из ресиверов пневмопривода тормозной системы, а также для выпуска из него сжатого воздуха при необходимости.
Кран слива конденсата ввернут в резьбовую бобышку на нижней части корпуса ресивера и уплотнен прокладкой. Кран постоянно закрыт усилием пружины и давлением воздуха в ресивере. При отклонении штока в боковом направлении открывается клапан, и конденсат сливается из ресивера.
При отпускании штока клапан закрывается. Нельзя тянуть шток вниз и нажимать вверх, так как это может привести к разрушению клапана крана.

Рисунок 174 — Кран слива конденсата
1 — толкатель; 2 — пружина; 3 —
корпус; 4 — кольцо опорное; 5 — шайба; 6 — клапан





