Подзаголовок сайта
Коммутационная аппаратура обеспечивает включение системы световой сигнализации и системы наружного и внутреннего освещения автобуса Нефаз.
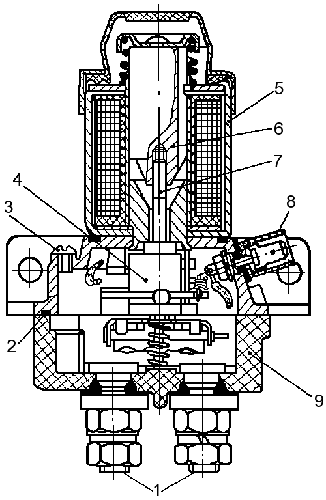
Выключатель аккумуляторных батарей типа 14.3737 (см. рисунок) и состоит из электромагнита, корпуса с контактной частью и устройства ручного включения с защитным чехлом.
Он служит для отсоединения аккумуляторных батарей от электрической системы автобуса при длительных стоянках и для защиты их от коротких замыканий.
Аккумуляторные батареи включаются и выключаются дистанционно из кабины водителя кнопочным выключателем кратковременным (не более 2 с) нажатием кнопки.
В аварийных ситуациях возможно непосредственное отключение электромагнита дистанционного выключателя нажатием штока выключателя 14.3737 через защитный чехол.

Рисунок 207 —
Выключатель аккумуляторных батарей
1 — клеммы; 2 — уплотнительное кольцо; 3 —
винт; 4 — контактная система; 5 — электромагнит; 6 — якорь; 7 — шток; 8 —
разъем; 9 — корпус
Комбинированный переключатель света и указателей поворота типа 89.3709 установлен на рулевой колонке и состоит из механизма включения указателей поворота, а также включения и переключения системы внешнего освещения. Кроме того, переключатель обеспечивает включение электрозвуковых сигналов через реле сигналов.
Автоматическое отключение указателей поворота при окончании маневрирования автобуса обеспечивается специальной втулкой срабатывателя, установленной на рулевом колесе.
При установке рулевого колеса на шлицах вала колонки нужно следить за тем, чтобы спицы рулевого колеса были расположены симметрично оси колонки, колеса автобуса при этом должны быть направлены по оси автобуса.
Реле различного назначения широко применяются в системах электрооборудования:
- прерыватели светового сигнала при маневрировании автобуса и для сигнализации аварийного состояния типа PC 951-А;
- реле блокировки стартера типа 738.3747-20 для своевременного отключения стартера и предотвращения принудительного включения стартера на работающем двигателе;
- реле прерывистого сигнализатора включения стояночной тормозной системы типа PC 493;
- реле комбинированные типа 901.3747.
При монтаже реле на автобусе следует подключать штекеры электропроводов к выводам реле строго в соответствии с их назначением. Специального технического обслуживания реле не требуют. При отказе в работе они подлежат замене.
Техническое обслуживание коммутационной аппаратуры
При техническом обслуживании ТО-2 проверить состояние и надежность крепления соединительных колодок выключателя аккумуляторных батарей, наличие и исправность защитных чехлов.
При сезонном техническом обслуживании (СТО) разобрать выключатель аккумуляторных батарей, прочистить и смазать.
Порядок разборки и сборки. Вывернуть винты крепления корпуса к электромагниту. Снять уплотнительную прокладку. При разборке корпуса с контактной системой отогнуть стопорные шайбы, снять опорную плиту. Особое внимание обратить на целостность пружины фиксатора. Снять со шпилек контактную часть, устранить подгар контактных соединений зачисткой стеклянной шкуркой, продуть сжатым воздухом внутреннюю полость корпуса. Трущиеся поверхности штока и шпилек контактной системы покрыть смазкой ЦИАТИМ.
Сборку выключателя производить в обратной последовательности.
При сборке шток электромагнита завернуть в якоре так, чтобы при ходе якоря до упора сердечника шток выступал над опорной поверхностью фланца на (1,5 - 2,5) мм.





