Подзаголовок сайта
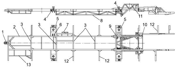
Каркас основания автобусного шасси сварной, лестничного типа выполнен из стальных труб прямоугольного сечения. Состоит из двух лонжеронов 2 (Рисунок 138 — Каркас основания шасси автобуса), соединенных поперечинами 3.
В передней и правой задней части имеются буксирные устройства. В средней части каркас основания усилен нижним ярусом 8.
Кузов автобуса крепится к каркасу основания через балки 12.

Рисунок 138 — Каркас основания шасси автобуса
1 — переднее буксирное
устройство; 2 — лонжерон; 3 — поперечины; 4 — стойка амортизатора; 5, 10 — упоры
пневмобаллонов подвески; 6 — кронштейн поперечной тяги; 7 — ферма крепления
запасного колеса; 8 — нижний ярус; 9 — кронштейн верхних реактивных штанг; 11 —
ферма над колесами заднего моста; 12 — балки для крепления кузова; 13 — ферма
рулевого управления
Техническое обслуживание каркаса основания шасси
При ежедневном техническом обслуживании следует проверить внешним осмотром состояние буксирных устройств каркаса основания шасси.
При сезонном техническом обслуживании (СТО):
- проверить внешним осмотром состояние каркаса основания. Не допускаются трещины, разрывы, ослабление крепления деталей каркаса, а также наличие следов коррозии на лонжеронах и поперечинах. При необходимости восстановить лакокрасочные покрытия каркаса;
- закрепить кронштейны топливного бака на лонжероне каркаса основания.
Момент затяжки гаек болтов 49-59 Н.м (5-6 кгс.м). Обратить внимание на
отсутствие разрушений кронштейнов по сгибу и в месте крепления их к
каркасу.
Ремонт каркаса основания шасси
При ремонте каркаса основания проверить качество сварных соединений, при необходимости восстановить. На полках и стенках лонжеронов и поперечин не должно быть разрывов, трещин. В случае возникновения трещины, необходимо засверлить ее концы, разделать кромки и заварить. Трещины размером более 1/3 высоты сечения заделать, зачистить сварной шов до основного металла и место восстановления усилить наложением накладок (толщиной 5-6 мм) с помощью продольных сварных швов.
Проверить состояние окраски каркаса основания. При необходимости провести следующие мероприятия по защите шасси автобуса от коррозии — см. раздел «Общие сведения о техническом обслуживании».





