Подзаголовок сайта
|
Длина регулировочного рычага передней оси и заднего моста, мм |
165 |
|
Ход штоков тормозных камер на передней оси и заднем мосту, мм |
30-50 |
|
Тип тормозных камер: | |
|
- передней оси |
24, мембранные |
|
- заднего моста |
30/24 (или 24/20), мембранные, с |
|
Диаметр барабана, мм |
420 |
|
Ширина накладок, мм |
180 |
|
Диаметр цилиндра и ход поршня компрессора, мм |
92×46 |
|
Производительность компрессора при противодавлении 0,79 МПа (8 кгс/см2) и частоте вращения коленчатого вала двигателя 2200 мин-1, м3/мин |
0,373 |
|
Передаточное число привода компрессора |
0,94 |
|
Противодавление в выпускной системе при закрытых заслонках механизма вспомогательной тормозной системы, кПа (кгс/см2) |
166,7-186,3 (1,7-1,9) |
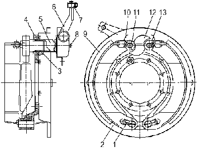
Тормозные механизмы (см. рисунок) установлены на всех ступицах колес автобусного шасси, основной узел тормозного механизма смонтирован на суппорте, жестко связанном с фланцем моста.

Рисунок
159 — Тормозной механизм
1 — ось с фиксатором; 2 — щиток; 3, 8 — болты; 4 —
суппорт; 5 — кронштейн с втулками; 6 — регулировочный рычаг; 7 — палец; 9 —
колодка с накладками; 10 — пружина; 11 — ролик колодки; 12 — разжимной кулак; 13
— ось ролика
На оси 1, закрепленные в суппорте 4, свободно опираются две тормозные колодки 9 с приклепанными к ним фрикционными накладками, выполненными по серповидному профилю в соответствии с характером их износа. Оси 1 колодок выполнены как одно целое с фиксатором, благодаря которому при работе механизма оси совершают вращательное движение вместе с колодкой, что позволяет значительно уменьшить износ опорных поверхностей колодок. При торможении колодки раздвигаются S-образным кулаком 12 и прижимаются к внутренней поверхности барабана. Тормозной барабан расположен на болтах крепления колеса и зафиксирован от осевого перемещения двумя винтами. Между разжимным кулаком 12 и колодками 9 установлены ролики 11, снижающие трение и улучшающие эффективность торможения. При растормаживании тормозных механизмов колодки возвращаются в исходное положение стяжной пружиной 10.
Колодки тормозного механизма литые, опорная часть колодки выполняется с
ушком, охватывает суппорт и обеспечивает крепление колодки при помощи оси,
проходящей через
обе детали. Разжимной кулак 12 вращается в кронштейне 5,
который прикреплен к суппорту болтами 3.

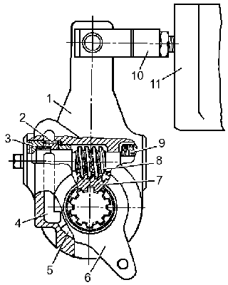
Рисунок 160 —
Автоматический регулировочный рычаг
1 — корпус рычага; 2 — шестерня; 3 —
конусная полумуфта наружная; 4 — зубчатая рейка; 5 — диск; 6 — неподвижный
рычаг; 7 — червячное зубчатое колесо; 8 — червяк; 9 — пружина; 10 — шток
тормозной камеры; 11 — тормозная камера
Механизмы вспомогательной тормозной системы (см. рисунок) установлены между фланцами приемных патрубков и металлорукавов.

Рисунок 161 —
Механизм вспомогательной тормозной системы
1 — корпус; 2 — поворотный рычаг;
3 — заслонка; 4 — вал
Каждый механизм состоит из сферического корпуса 1 и заслонки 3, закрепленной на валу 4. На валу заслонки закреплен также поворотный рычаг 2, соединенный со штоком пневмоцилиндра. Рычаг и связанная с ним заслонка имеют два фиксированных положения тормозного механизма.
При выключении вспомогательной тормозной системы заслонка устанавливается вдоль потока отработавших газов, а при включении — поперек потока, препятствуя их выходу, тем самым, обеспечивая возникновение противодавления в выпускной системе. Одновременно прекращается подача топлива. Двигатель начинает работать в режиме торможения.





