Подзаголовок сайта
Генераторные установки предназначены для работы в качестве источника электрической энергии параллельно с аккумуляторной батареей в системе электрооборудования.
Генераторная установка работает по однопроводной схеме электрооборудования шасси автобуса с подсоединением отрицательного вывода на корпус (массу). Ошибочное подключение к корпусу положительного вывода аккумуляторной батареи приводит к выходу из строя выпрямительного блока.
Передаточные числа приводов генераторных установок — 2,9 (для генераторов мощностью 2 кВт) и 2,18 (для генератора мощностью 3 кВт).
Предупреждения
При эксплуатации автобуса необходимо выполнять следующие правила.
- Не подсоединять и не отсоединять штепсельные разъемы и плюсовой вывод генераторной установки при работающем двигателе и включенных аккумуляторных батареях, а также не пускать двигатель при отсоединенном от генератора плюсовом выводе.
- Не проверять исправность генераторной установки путем замыкания выводов «+», «В» («Ш»), «Л1», «Д» между собой и на массу.
- Не проверять исправность системы электрооборудования и отдельных проводов мегомметром или лампой, питаемой напряжением выше 28 В при не отключенном генераторе.
- Проверку выпрямительного блока производить только от источника постоянного тока напряжением более 24 В, включенного последовательно с контрольной лампой.
- Во избежание выхода из строя выпрямительного блока и регулятора напряжения при подзарядке аккумуляторных батарей от внешнего источника обязательно отключить батареи от сети автобуса.
- Запрещается отключать провода от плюсового вывода генератора или
аккумуляторные батареи выключателем батарей при работающем
двигателе.
Работа генератора при отключенных АКБ может вывести из строя регулятор напряжения, а также другие потребители бортовой сети автобуса. - В случае короткого замыкания в цепи сигнальных ламп указателей поворота эксплуатация реле-прерывателя может быть возобновлена только после устранения короткого замыкания во внешней цепи.
- При мойке шасси (автобуса) следует избегать прямого попадания воды на генератор.
- Генератор нужно снимать с двигателя только для выполнения текущего ремонта и работ, связанных с износом контактных колец, заменой подшипников и других узлов генератора. Запрещается разбирать генератор до истечения его гарантийного срока.
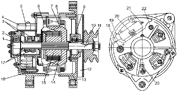
Генераторная установка типа 6582.3701-02 (см. рисунок) состоит из трехфазного синхронного генератора с прямоточной вентиляцией, электромагнитным возбуждением, встроенных в генератор выпрямительного блока БПВ-17-100-02 и интегрального регулятора напряжения типа Я120М12 (или 443.3702), а также из помехоподавительного конденсатора емкостью 2,2 мкф.

Рисунок
193 — Генераторная установка
1, 9 — подшипники; 2 — крышка подшипника; 3 —
щетка с пружинами 4 — крышка щеткодержателя; 5 — щеткодержатель; 6 — обмотка
статора; 7 — полосы ротора; 8 — пакет железа статора; 10 — вал ротора; 11 —
шкив; 12 — вентилятор; 13 — крышка со стороны привода; 14 — обмотка возбуждения;
15 — втулка ротора; 16 — выпрямительный блок; 17 — контактные кольца; 18 — винт
плюсового вывода; 19 — регулировочный винт; 20 — вторая цепь регулятора
напряжения (вывод «В» или «Ш»); 21 — дополнительные диоды (вывод «Д»); 22 —
вывод фазы (выводы «~», «W», «Л1»); 23 — вывод массы
Генератор состоит из следующих частей: статора, ротора, крышки со стороны контактных колец со встроенным выпрямительным блоком, имеющим три дополнительных диода; крышки со стороны привода, щеткодержателя с интегральным регулятором напряжения, вентилятора и шкива.
Статор набран из отдельных пластин, выполненных из электротехнической стали, соединенных в пакет, и имеет 36 пазов, в которые заложена трехфазная обмотка, соединенная по схеме «двойная звезда».
Ротор состоит из напрессованных на вал стальной втулки с катушкой возбуждения и стальных полюсов, прилегающих к втулке и перекрывающих обмотку.
Крышка со стороны контактных колец имеет вентиляционные окна. В крышку вмонтирован выпрямительный блок. Крышка со стороны привода имеет вентиляционные окна. В крышке установлен подшипник. Щеткодержатель состоит из щеткодержателя со щетками и интегрального регулятора напряжения. Вентилятор и шкив установлены на вал генератора на шпонке и закреплены гайкой с шайбой.
Регулятор напряжения служит для автоматического поддержания напряжения генератора в заданных пределах, необходимых для обеспечения зарядного режима аккумуляторной батареи и работы потребителей.
Винт переключателя посезонной регулировки установлен на кожухе щеткодержателя генератора. При вывернутом винте обеспечивается летняя регулировка, при ввернутом до упора винте — зимняя регулировка.
Интегральный регулятор напряжения Я120М12 — изделие неразборное и неремонтопригодное.
На генераторе имеются следующие выводы:
- «+» — для подключения аккумуляторной батареи и нагрузки;
- «-» — для подключения к массе шасси автобуса;
- «В» («Ш») — вторая цепь интегрального регулятора напряжения;
- «Д» — штекер на корпусе щеткодержателя от дополнительных диодов для подключения контрольной лампы АКБ;
- «~», «W», «Л1» — штекер на корпусе для вывода фазы.
Генератор расположен в верхней передней части двигателя. Генератор приводится во вращение одним ремнем с поликлиновым профилем.
|
Техническая характеристика генератора | |
|
Направление вращения |
правое (со |
|
Номинальное напряжение, В |
28 |
|
Частота вращения (при температуре окружающего воздуха (25 ± 10) °С,
|
1600 |
|
Максимальная сила тока отдачи, А |
80 |
|
Сила тока возбуждения, А, не более |
3,2 ± 0,2 |
|
Сила давления щеточных пружин (при сжатии пружины до 17,5 мм), Н (кгс) |
1,86-2,45 (190-250) |
Генераторная установка мод. Г3000А.36.3 представляет собой бесконтактную семифазную электрическую машину с комбинированным (электромагнитным) возбуждением от обмотки возбуждения и от постоянных магнитов, со встроенным выпрямительным блоком БПВ72-140-02 и регулятором напряжения Я120М12.
Пакет статора запрессован в цилиндр, он выполнен шихтованным из листовой стали и имеет четырнадцать зубцов, на которых закреплены катушки фазных обмоток. Соединение катушек в фазе последовательное. Фазы соединяются по схеме «многоугольник».
Ротор — это вал с напрессованным шихтованным пакетом и втулкой. Пакет имеет восемь зубцов (полюсов). В пазы пакета установлены постоянные магниты, залитые пластмассой. Наличие постоянных магнитов обеспечивает надежное самовозбуждение генератора при пуске как при работе с аккумуляторной батареей, так и без нее. Ротор установлен на подшипниках. Передний подшипник запрессован во фланце. Фланец имеет вентиляционные отверстия. Катушка возбуждения крепится к фланцу и представляет собой стальной сердечник с каркасом.
Блок полупроводниковый выпрямительный БПВ72-140-02 состоит из силового и дополнительного выпрямителей, конденсатора К73-21-8, регулятора напряжения. Силовой выпрямитель собран по семифазной мостовой схеме на кремниевых диодах, запрессованных в алюминиевые радиаторы, разделенные друг от друга изоляционными втулками. Радиаторы являются выводами анодной и катодной групп диодов. Кроме того, для питания обмотки возбуждения блок полупроводниковый выпрямительный содержит дополнительный выпрямитель, образующий анодную группу, выполненный на диодах меньшей мощности, что позволяет избежать разряда аккумуляторной батареи через цепь обмотки возбуждения при неработающем генераторе. Величина тока нагрузки на выводе «Д» не должна превышать 5А.
Регулятор напряжения Я120М12 предназначен для автоматического поддержания напряжения на выводах генератора при изменениях скорости вращения или нагрузки посредством регулирования тока, протекающего по обмотке возбуждения.
Регулятор напряжения закрыт крышкой, защищающей от загрязнения внутреннюю полость генератора при работе протяжной вентиляции и предохраняющей регулятор от повреждени/





