Каталог запчастей НЕФАЗ > Группа 34. Рулевое управление > Установка колонки рулевого управления

Вы можете заказать детали из каталога запчастей
Для этого Вам необходимо связаться с нами по телефону (8552) 53-70-63
Так же Вы можете послать нам свою заявку по E-mail: mail@trakbus.ru
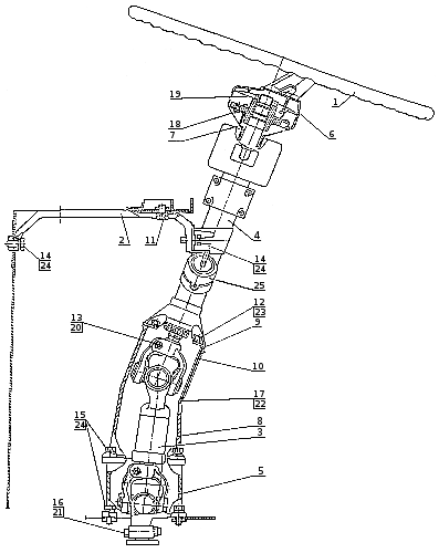
| Поз. | Наименование | Код |
| - | Установка колонки рулевого управления | 5297-3400014-10 |
| 1 | Колесо рулевое | 5320-3402015-02 |
| 2 | Кронштейн крепления | 5297-3403005 |
| 3 | Вал карданный рулевого управления | 5297-3422010-10 |
| 4 | Рулевая колонка | 5297-3444009-10 |
| 5 | Фланец колонки | 5297-3403066-10 |
| 6 | Крышка верхняя рулевого колеса | 5320-3402060-02 |
| 7 | Крышка нижняя рулевого колеса | 5320-3402064-02 |
| 8 | Фланец крепления колонки | 5320-3403066 |
| 9 | Крышка фланца | 5320-3403068 |
| 10 | Прокладка крышки фланца | 5320-3403071 |
| 11 | Болт M8-6gx16 | 1/60432/21 |
| 12 | Болт M8-6gx20 | 1/60432/21 |
| 13 | Болт M8-6gx45 | 1/60441/21 |
| 14 | Болт М10х1,5-6gх20 | 1/59705/21 |
| 15 | Болт М10х1,25-6gх25 | 1/59707/21 |
| 16 | Болт М10х1,5-6gх45 | 1/12317/21 |
| 17 | Винт M4-6gx6 | 1/03746/01 |
| 18 | Винт M5-6gx8 | 1/03892/01 |
| 19 | Гайка низкая М22х1,5-6Н | 1/07268/21 |
| 20 | Гайка М8-6Н | 251645 |
| 21 | ГайкаМ10х1,25-6Н | 251646 |
| 22 | Шайба пружинная 4 | 1/11953/73 |
| 23 | Шайба пружинная 8 | 1/05166/77 |
| 24 | Шайба пружинная 10 | 1/05168/73 |
| 25 | Выключатель приборов и стартера с противоугонным устройством в сбор | 2126-3704010-20 |

Вы можете заказать детали из каталога запчастей
Для этого Вам необходимо связаться с нами по телефону (8552) 53-70-63
Так же Вы можете послать нам свою заявку по E-mail: mail@trakbus.ru





