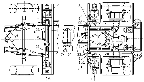
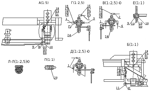
Каталог запчастей НЕФАЗ > Группа 29. Подвеска передняя и задняя > Установка регуляторов положения кузова и монтаж трубопроводов


Вы можете заказать детали из каталога запчастей
Для этого Вам необходимо связаться с нами по телефону (8552) 53-70-63
Так же Вы можете послать нам свою заявку по E-mail: mail@trakbus.ru
| Поз. | Наименование | Код |
| - | Установка регуляторов положения кузова и монтаж трубопроводов | 5297-2900018-10 |
| 1 | Трубка | 53205-3570040 (см. 53205-3570032) |
| 2 | Трубка | 53205-3570100 (см. 53205-3570032) |
| 3 | Трубка | 53205-3570105 (см. 53205-3570032) |
| 4 | Трубка | 53205-3570168 (см. 53205-3570032) |
| 5 | Трубка | 53205-3570205 (см. 53205-3570032) |
| 6 | Трубка | 53205-3570214 (см. 53205-3570032) |
| 7 | Трубка | 53205-3570288 (см. 53205-3570032) |
| 8 | Тяга | 5297-2925254 |
| 9 | Тяга | 5297-2935228 (см.53205-2935254) |
| 10 | Втулка уплотнительная | 5297-2925285 |
| - | Втулка проводов | 4310-3727285 |
| 11 | Втулка | 5262.002925.258 |
| 12 | Болт M8-6gx55 | 1/60443/21 |
| 13 | Гайка М6-6Н | 1/58962/11 |
| 14 | Гайка М8-6Н | 1/61008/11 |
| 15 | Гайка М12х1-6Н | 1/61036/11 |
| 16 | Шайба пружинная 8 | 1/05166/77 |
| 17 | Угольник ввертной | 861001 |
| 18 | Шайба | 861022(см.861024) |
| 19 | Кольцо уплотнительное | 864204 |
| 20 | Кольцо уплотнительное | 864221 |
| 21 | Штуцер | 864894 (см. 853971) |
| 22 | Тройник | 864919 |
| 23 | Шайба плоская | 870621 |
| 24 | Регулятор положения кузова | 464.006.002.0 |


Вы можете заказать детали из каталога запчастей
Для этого Вам необходимо связаться с нами по телефону (8552) 53-70-63
Так же Вы можете послать нам свою заявку по E-mail: mail@trakbus.ru





