Каталог запчастей НЕФАЗ > Группа 24. Мост задний с установкой сдвоенных колес, главная передача, МКД > Вилка блокировки

Вы можете заказать детали из каталога запчастей
Для этого Вам необходимо связаться с нами по телефону (8552) 53-70-63
Так же Вы можете послать нам свою заявку по E-mail: mail@trakbus.ru
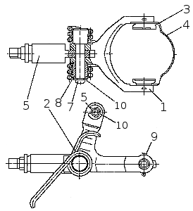
| Поз. | Наименование | Код |
| 1 | Вилка блокировки | 55102-2409018 |
| 2 | Пружина возвратная | 55102-2409023 |
| 3 | Сухарь | 55102-2409024 |
| 4 | Скоба | 55102-2409026 |
| 5 | Палец вилки | 55102-2409028 |
| 6 | Опора вилки | 55102-2409032 |
| 7 | Ось вилки | 55102-2409038 |
| 8 | Втулка | 740.1108048-10 |
| 9 | Шплинт разводной 3x30 | 1/07346/01 |
| 10 | Шайба стопорная 9 | 1/10880/76 |

Вы можете заказать детали из каталога запчастей
Для этого Вам необходимо связаться с нами по телефону (8552) 53-70-63
Так же Вы можете послать нам свою заявку по E-mail: mail@trakbus.ru





